联系人:武经理
永盈彩票手机:13933744225
电话: 0319-4786765
传真: 0319-4845306
永盈彩票邮箱: 776150030@qq.com
网址:passionvietnam.com
地址:河北省邢台市新河县城北工业区
永盈彩票平推螺杆式启闭机QLP的价格通常在200元/台-2000元一台左右,瑞鑫水利闸门厂家一台起批,爆款水渠、农田灌溉、水产养殖平推螺杆式启闭机闸门,近20年专注,报价惊喜亲民,放心选购!

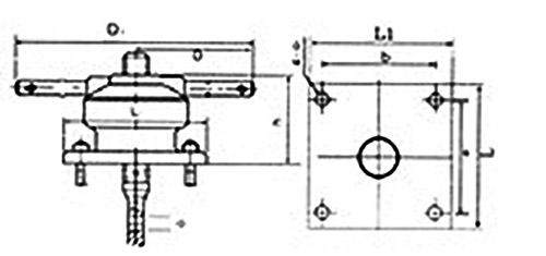
一、平推螺杆式启闭机qlp简介图片
平推螺杆式启闭机qlp是一款适用于小型方型闸门和圆型闸门小型手动螺杆启闭机,也被称为"磨盘式启闭机",多用于水渠、河渠、渠道、农田灌溉、水产养殖、泵站、污水处理以及小型水库的水利闸门永盈彩票、堰门的启闭,具有轻巧方便、结构紧凑、操作启闭灵活可靠、承载能力大、效率高、使用寿命长、维护成本低等优点。

二、工作原理:
平推螺杆式启闭机俗称带锁平推螺杆启闭机,采用螺纹杆直接或通过导向滑块、连杆与闸门门叶相连接,通过螺杆上下移动便可以启闭水利闸门。
三、平推螺杆式启闭机qlp型号参数
平推螺杆式启闭机qlp常见规格型号为0.5t-2t的,本厂其他规格型号可定制生产,具体启门力、闭门力、螺杆长度、螺杆直径、外形尺寸等参数如下表。


四、平推螺杆式启闭机qlp优势特点
1、轻巧方便、结构紧凑;
2、自锁性能强,可使闸门停留在任何位置;
3、配有防盗扳手,具有防盗功能;
4、平推螺杆式启闭机配机械锁装置,具有防盗水的功能;
永盈彩票6、螺杆和蜗杆均采用45#碳素钢制作,蜗杆齿面采纳高频淬火工艺处埋,并通过磨床磨消,牢固耐用。

五、安装操作注意事项
A、平推螺杆式启闭机qlp安装注意事项
永盈彩票1、平推螺杆式启闭机QLP安装时底座与基础布置平面的接触面积要达到百分之90以上,且应牢固平整;
2、螺杆轴线要垂直闸台上横梁的水平面,平行于闸门研磨轨道表面,同时垂直与吊耳轴;
永盈彩票3、在安装平推螺杆式启闭机时根据闸门起吊中线,找正使纵横向中线偏差不超过正负3mm,高程偏差不超过正负5mm,然后浇注二次温凝土或与预埋钢板连接;
4、把一个限位盘套在螺杆上,将螺杆从横梁的下部旋入启闭机中,当螺杆从机器的上方露出后,再套上限位盘,螺杆的下方与闸门连接;
5、机座和基础构件的混凝土,按图纸的规定浇筑,在混凝土强度未达到设计强度时,不准折除和改变启团机的临时支撑,更不得进行试调和试运转。
永盈彩票6、留有地脚螺丝孔的位置,启闭机到位后,找平浇灌成型;
7、在平推螺杆式启闭机安装完成后,要对手动启闭机进行清理,补修已损坏的保护油漆,灌注润滑脂。

B、操作注意事项
1、操作前,对起闭机进行检查,个部位润滑情况是否良好,螺栓有无松动;
2、操作人员须掌握螺杆启闭机的结构、性能与操作方法,并有相关的机械知识,以确保机器的正常运转;
3、在使用时,需随时由注油孔注入润滑油,要经常保持足够的润滑油,螺杆要定期清理油垢,涂护新油,以防锈蚀;
永盈彩票4、操作时候应注意平推螺杆式启闭机上下限位,防止造成螺杆弯曲;
永盈彩票5、平推螺杆式启闭机维修时,须卸掉载荷。

六、平推螺杆式启闭机QLP应用
1、适用于小型方型闸门和圆型闸门;
2、广泛应用于各类污水闸门、排水闸门、堰门等水利闸门的启闭;
3、应用于渠道、水渠、河道、泵站、水库等水利闸门的启闭;
4、适用于水产养殖闸门、农田灌溉闸门、市政水利闸门工程建设等。
七、维护保养
1、安装使用前,应作一次检查,试验运行,清理污迹,进行润滑,螺杆的螺纹段则应涂抹黄油,以防生绣
2、平推螺杆式启闭机的螺杆在使用中比较容易产生弯曲现象,这是由于闭门时过分施加了压力的结果,应当及时卸下,将其校直;
3、出厂前以加足黄油,整机验收合格,根据实用情况,一般3-5年整机打开大维护保养一次。