永盈彩票

永盈彩票是从事水工机械研发、生产、销售于一体厂家。
联系方式 more +

联系人:武经理

手机:13933744225

电话: 0319-4786765

永盈彩票传真: 0319-4845306

邮箱: 776150030@qq.com

永盈彩票网址:passionvietnam.com  

永盈彩票地址:河北省邢台市新河县城北工业区

永盈彩票

双向转动铸铁闸门原理图及结构图,实体厂家免费提供

发布日期:2022-11-29 10:16:42浏览:881 次

双向转动铸铁闸门是一种高水头闸门,往往被用于水库、河堤、大坝底部水面以下的孔洞,与水平面不大于30°,用来调节水流,因此也被称为双向转动水库铸铁闸门、水利农田灌溉闸门等,其结构图、原理图如下。

双向转动铸铁闸门原理图及结构图,实体厂家免费提供

一、双向转动铸铁闸门原理图

双向转动铸铁闸门原理图

双向转动铸铁闸门工作原理:它通常以手动/电动卷扬机做为启闭站的动力,来拉动位于水面下的转动闸,来开启关闭闸门,比如在需要水库放水灌溉时,操作岸上的卷扬启闭机机,转动闸门,打开闸门,当需要关闭闸门时则反向操作即可。

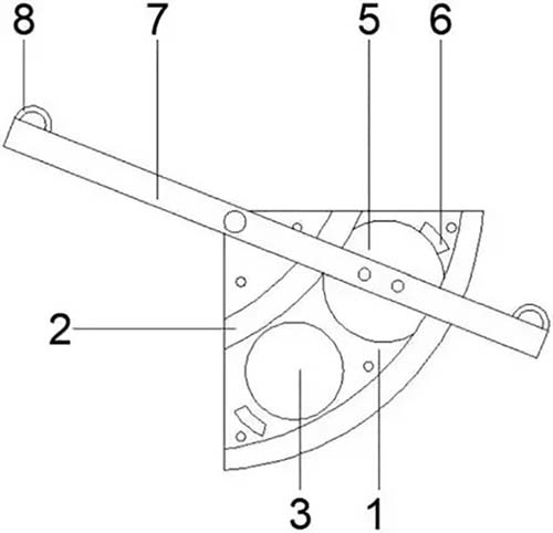
二、双向转动铸铁闸门结构图

双向转动铸铁闸门结构图

 双向转动闸门结构组件:主要由门框、闸板、导轨、密封条、传动螺杆、吊块螺母/吊耳和可调整密封机构等部件组成,其中门框和闸板均由灰口铸铁或球墨铸铁制成,导轨左右对称布置,且用不锈钢螺栓定位销与门框二侧端部连接(对中小口径的闸门,其导轨可与门框浇注成一体), 导轨长度一般为闸门全开启高度的1/2~1/3, 因而整体结构强度高、刚性高、耐磨、耐腐蚀性好、承压能力大。

总结:

以上就是关于双向转动铸铁闸门的原理图和结构图的内容了,双转动闸门多用于水库和水利灌溉,因此也常常被称为水库闸门或水利灌溉闸门永盈彩票,此种类型的闸门具有重量轻、耐腐蚀好,耐酸碱及耐大部分腐蚀性化学品及污水、海水等,同时具有密封性优良,力矩小,等特点,常常的型号有#200、#300、#400、#500、#600、#800等,配型的启闭机通常在1T到3T之间。

微信扫码咨询

联系人:武经理

手机:13933744225

电话: 0319-4786765

传真: 0319-4845306

邮箱: 776150030@qq.com

网址:passionvietnam.com  

地址:河北省邢台市新河县城北工业区

天天中彩票-Welcome首页 乐盈VI 500505百万文字论坛综合资料-500308百万文字论坛-780790百万文字论坛红字-798790百万文字论坛下载-500505百万文字论坛雷锋版 佰富彩-安全购彩 98彩票|官方网站 800彩票 - 首页 乐发vll500 佰富彩-welcome