联系人:武经理
手机:13933744225
永盈彩票电话: 0319-4786765
传真: 0319-4845306
邮箱: 776150030@qq.com
网址:passionvietnam.com
地址:河北省邢台市新河县城北工业区
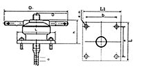
平推螺杆启闭机qlp属于一种常见的手动螺杆启闭机或手动启闭机,其结构紧凑,运行可靠,因为其启闭闸门类似于过去的磨盘,也被称为磨盘式启闭机,多用于小型平面铸铁闸门、圆形闸门永盈彩票、堰门的启闭,因此在水产养殖闸门、农田灌溉排水闸门、小型水库排水闸门中常常见到此款启闭机,常见的规格型号有0.5t、1t、2t的,其规格型号参数、结构图、工作原理如下。

一、平推螺杆启闭机qlp规格型号参数

说明:
1、表中包含了0.5t-2t平推螺杆启闭机的启门力、闭门力、螺杆长度、螺纹长度、外形尺寸、安装布置尺寸、重量等技术参数;
2、以上规格型号参数仅供参考,具体产品详细参数以实物为准;
3、本厂支持定制生产。
二、平推螺杆启闭机qlp结构图及实物图


三、平推螺杆启闭机qlp工作原理
永盈彩票平推螺杆式启闭机采用螺纹杆直接或通过导向滑块、连杆与闸门门叶相连接,通过螺杆上下移动便可以启闭水利闸门,结构简单,运行可靠,因此也俗称带锁平推螺杆启闭机、手动螺杆启闭机。